-
Koszyk jest pusty
-
x
Do bezpłatnej dostawy brakuje
-,--
Darmowa dostawa!
Suma
0,00 zł
Cena uwzględnia rabaty
Darmowa dostawa od 150 PLN
0
twój koszyk
0,00 zł
-
Koszyk jest pusty
-
x
Do bezpłatnej dostawy brakuje
-,--
Darmowa dostawa!
Suma
0,00 zł
Cena uwzględnia rabaty
-
MikroTik S53UG+M-5HaxD2HaxD-TC&RG502Q-EA - Chateau 5G ax MikroTik | Chateau 5G ax | S53UG+M-5HaxD2HaxD-TC&RG502Q-EA | 802.11ax |
Symbol:
S53UG+M-5HaxD2HaxD-TC&RG502Q-EA
| Wpisz swój adres e-mail |
| Opinie | |
| Cena przesyłki | 0 |
| Dostępność |
Brak towaru
|
| Zostaw telefon |
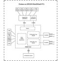
MikroTik S53UG+M-5HaxD2HaxD-TC&RG502Q-EA - Chateau 5G ax MikroTik 802.11ax, Ethernet LAN (RJ-45) ports 4, MU-MiMO Yes, 1, Quad-Core IPQ-6010 1.8 GHz CPU, 1 GB RAM (DDR3L), 1x2.5G Ethernet port, 1xMicro SIM slot, 1xM.2 slot, LTE20 (2.0 Gbps Downlink, 200 Mbps Uplink)
Nie ma jeszcze komentarzy ani ocen dla tego produktu.